ASME B16 47 Class 600 Series A Flange

+ Free Shipping

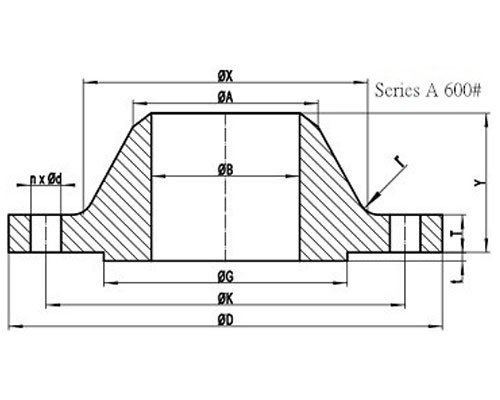
ASME B16.47 Series A Flanges Class 600 Dimensions and Technical Drawings ASME B16.47 Series A 600# Welding Neck Flange with RF ASME B16.47 Series A Class 600 Blind Flange with RF DOWNLOAD ASME B16.47 SERIES A FLANGES CLASS 600 DIMENSIONS…

SKU: PG-23384 Category:

ASME B16.47 Series A Flanges Class 600 Dimensions and Technical Drawings ASME B16.47 Series A 600# Welding Neck Flange with RF ASME B16.47 Series A Class 600 Blind Flange with RF DOWNLOAD ASME B16.47 SERIES A FLANGES CLASS 600 DIMENSIONS AND TECHNICAL DRAWINGS PDF Get Complete details of ANSI/ASME B16.47 Standard Flange 600# B16.47 Series A Flanges Dimensions B16.47 Dimensions in MM NPS D K G X 26" 1015 914.4 749 748 28" 1075 965.2 800 803 30" 1130 1022.4 857 862 32" 1195 1079.5 914 918 34" 1245 1130.3 965 973 36" 1315 1193.8 1022 1032 38" 1270 1162.0 1054 1022 40" 1320 1212.8 1111 1073 42" 1405 1282.7 1168 1127 44" 1455 1333.5 1226 1181 46" 1510 1390.6 1276 1235 48" 1595 1460.5 1334 1289 50" 1670 1524.0 1384 1343 52" 1720 1574.8 1435 1394 54" 1780 1632.0 1492 1448 56" 1855 1695.4 1543 1502 58" 1905 1746.2 1600 1553 60" 1995 1822.4 1657 1610 General Note: All dimensions are in MM. D: outside diameter of flange. K: diameter of bolt circle. G: diameter of raised face. X: diameter of hub of flange. NPS A TBL TWN Y 26" 660.4 125.5 108.0 222 28" 711.2 131.8 111.2 235 30" 762.0 139.7 114.3 248 32" 812.8 147.7 117.5 260 34" 863.6 154.0 120.7 270 36" 914.4 162.0 123.9 283 38" 965.2 155.0 152.4 254 40" 1016.0 162.0 158.8 264 42" 1066.8 171.5 168.3 279 44" 1117.6 177.8 173.1 289 46" 1168.4 185.8 179.4 300 48" 1219.2 195.3 189.0 316 50" 1270.0 203.2 195.9 329 52" 1320.8 209.6 203.2 337 54" 1371.6 217.5 209.6 349 56" 1422.4 225.5 217.5 362 58" 1473.2 231.8 222.3 370 60" 1524.0 242.9 233.4 389 General Note: All dimensions are in MM. A: Diameter of hub top of WN. TBL: minimum thickness of blind flange….